You are using an outdated browser. For a faster, safer browsing experience, upgrade for free today.
Телефоны: +7 (499) 290-55-35

Heid Antriebstechnik

Беззазорные электромагнитные пружинно управляемые тормоза FEOBM 24 В

Стояночный тормоз с диафрагмой и стационарно установленным корпусом катушки. Технические характеристики: Динамический крутящий момент: 3-500 Нм ..

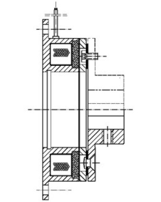
Гидравлически управляемая многодисковая муфта сцепления HLW 24-40 бар

Муфты предназначены для монтажа в коробки передач, станки с высоким крутящим моментом нагрузки, строительные машины и транспортное оборудование. Технические характеристики: ..

Гидравлически управляемый пружинный тормоз. Рабочее давление от 18 до 30 бар.

Предохранительный тормоз для портов, кранов и оборудования для погрузки на судно в морской воде, стойкий к коррозии, в защищенном исполнении. Технические характеристики: ..

Пружинные многодисковые муфты с электромагнитным разъединением FMOV 24 В.

Предохранительная муфта с наружным управлением для подъемных механизмов. Технические характеристики: Статический крутящий момент Вариант1: 100-10000 Нм ..

Совместимые многодисковые муфты LCW-S

Муфта для установки на вал с углублением на передней стороне. Технические характеристики: Статический крутящий момент: 7-410 Нм ..

Совместимые многодисковые муфты LKC-S

Базовая конструкция с внутренним диском сцепления. Технические характеристики: Статический крутящий момент: 10-4500 Нм ..

Совместимые многодисковые тормоза LCBW-S

Тормоза с магнитным телом, крепятся к передней стенке корпуса. Технические характеристики: Статический крутящий момент: 20-5800 Нм ..

Совместимые электромагнитные стационарные зубчатые муфты FZK-S

Базовая конструкция с жесткой, единой защитной плитой. Технические характеристики: Статический крутящий момент: 50-6000 Нм ..

Совместимые электромагнитные стационарные зубчатые муфты FZZ-S

Базовая конструкция с жесткой, единой защитной плитой. Технические характеристики: Статический крутящий момент: 100-6000 Нм ..

Совместимые электромагнитные токосъёмные зубчатые муфты MZK-S

Базовая конструкция с жесткой, единой защитной плитой. Технические характеристики: Статический крутящий момент: 10-6000 Нм ..

Совместимые электромагнитные токосъёмные зубчатые муфты MZZ-S

Базовая конструкция без дополнительного концентратора. Технические характеристики: Статический крутящий момент: 20-6000 Нм ..

Управляемые электромагнитным полем многодисковые тормоза LCBW 24 В

Тормоза используются для монтажа в коробку передач вместе с сцеплением для быстрого срабатывания. Технические характеристики: Статический крутящий момент: 12..

Электромагнитно управляемая стационарная зубчатая муфта FZND 24 В

Мелкозубчатая муфта для передачи положительного крутящего момента с защитного диска на подшипниковую опору. Технические характеристики: Статический крутящий ..

Электромагнитно управляемая стационарная зубчатая муфта FZV 24 В

Муфты для передачи положительного момента со шлицевой направляющей. Технические характеристики: Статический крутящий момент вариант1: 40-25000 Нм ..

Электромагнитно управляемая стационарная зубчатая муфта FZVAM 24 В

Муфты для положительной, беззазорной передачи крутящего момента с мембранной защитой. Технические характеристики: Статический крутящий момент (ключом к валу)..

Электромагнитно управляемая стационарная зубчатая муфта MZZ 24 В

Муфты для передачи положительного момента с пусковой защитной плитой. Технические характеристики: Статический крутящий момент: 20-4000 Нм ..

Электромагнитное пружинно управляемое тормозное управление MUOB 24 В

Предохранительные тормоза с одной опорной поверхностью для установки на двигатели, коробки передач и верёвочные барабаны. Технические характеристики: Стати..

Электромагнитные муфты МС с одной опорной поверхностью со стационарно вмонтированной катушкой 24 В.

Муфты для цикла срабатывания, подходят для многофункциональных дисков. Технические характеристики: Динамический крутящий момент тормозов: 3-500 Нм ..

Электромагнитные муфты муфты сцепления LMS 24В

Муфты с наружным управлением для операций цикла контроля подачи. Технические характеристики: ВЛАЖНЫЙ ХОД: Статическ..

Электромагнитные муфты сцепления FM 24В

Муфты с внутренним управлением для операций подачи движения. Технические характеристики: Статический крутящий момент: 10-5000 Нм ..

Электромагнитные муфты сцепления FMV 24В

Муфты с внутренним управлением для операций подачи движения. Технические характеристики: Статический крутящий момент: 20-10000 Нм ..

Электромагнитные муфты сцепления FOV 24В

Муфта с наружным управлением для установки в коробку передач основного или вспомогательного дисков. Технические характеристики: Статический крутящий момент: ..

Электромагнитные муфты сцепления LCW 24В

Муфты закрепляющиеся магнитным телом с торца. Технические характеристики: Статический крутящий момент: 12-5000 Нм Д..

Электромагнитные муфты сцепления LKC 24В

Муфта с наружным управлением для установки в передаточные механизмы. Технические характеристики: Статический крутящий момент: 10-4500 Нм ..

Электромагнитные пружинно управляемые зубчатые муфты FOZ 24 В

Муфты для передачи положительного момента в обесточенном состоянии. Технические характеристики: Статический крутящий момент вариант1: 32-4000 Нм ..

Электромагнитные пружинно управляемые многодисковые тормоза FMOB 24 В

Предохранительный тормоз для вала через тормозные установки, с регулируемым воздушным зазором и компенсацей износа. Технические характеристики: Статический к..

Электромагнитные пружинно управляемые многодисковые тормоза FMOBS 24 В

Центрально установленный предохранительный тормоз для установки в коробку передач с устройством для ручного пуска. Технические характеристики: Статический кр..

Электромагнитные пружинно управляемые многодисковые тормоза LMOBA 24 В

Аварийный тормоз используется для установки на коробке передач. Корпус защищён в соответствии с защитной характеристикой системы. Технические характеристики: ..

Электромагнитные пружинно управляемые многодисковые тормоза LMOBC 24 В

Предохранительного тормоза с удерживающим рычагом, который служит для монтажа передаточного вала. Технические характеристики: Статический крутящий момент: ..

Электромагнитные стационарные пружинно управляемые зубчатые муфты MZOUL 160-220/110 В

Крупнозубчатая муфта для передачи положительного момента в обесточенном состоянии. Технические характеристики: Статический крутящий момент: 800-12500 Нм ..

Электромагнитные токосъёмные пружинно управляемые зубчатые муфты MZOLD 220/110 В

Крупнозубчатая муфта для передачи положительного момента в обесточенном состоянии. Технические характеристики: Статический крутящий момент: 800-32000 Нм ..

Элктромагнитные тормоза MCB с одной опорной поверхностью.

Электромагнитные тормоза подходят для сухих процессов. Технические характеристики: Динамический крутящий момент тормозов: 3-500 Нм ..

Показано с 1 по 32 из 32 (всего страниц: 1)